Carsig – Your specialist for electronics solutions
- Product finder
- Voltage monitor
- SPW.182.000.00
SPW.182.000.00
The voltage monitor switches the load on or off at a defined threshold voltage. The relay can also be closed via the APC input in order to also couple the batteries in the case of undervoltage. As long as the input is present, the relay is closed.
The voltage monitor switches the load on or off at a defined threshold voltage after the delay time has elapsed. Forced switching can be forced with the APC input. As long as the input is switched, the relay is switched through. A warning light can be connected to the info relay output.

| technical data | |
|---|---|
| Operating voltage | 9V-15V |
| Voltage | 12V |
| Width [mm] | 46 Millimeter |
| Height [mm] | 60 Millimeter |
| Length [mm] | 46 Millimeter |
function diagram

schematic

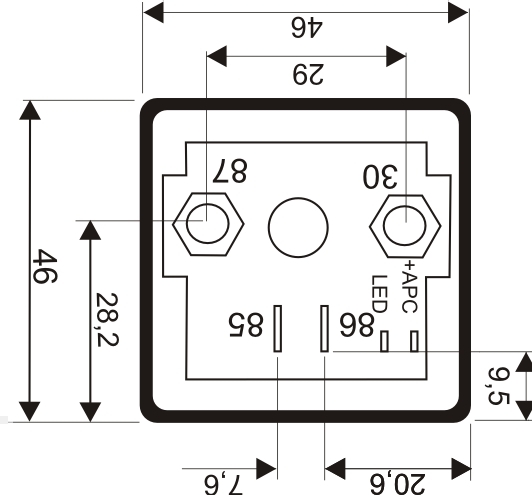
pin configuration

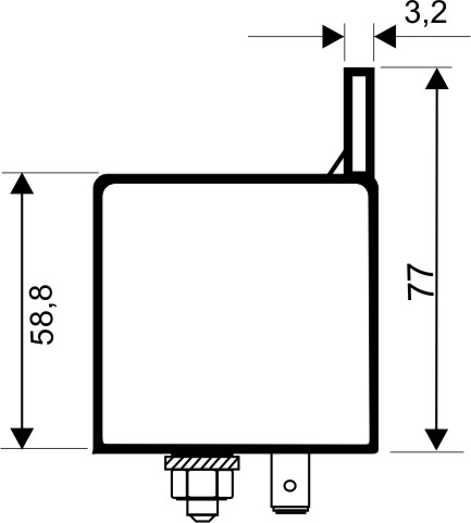
measurements

